US 209444
UNITED STATES PATENT OFFICE.
ALVAN S. BALLARD, OF WATERVILLE, NEW YORK.
IMPROVEMENT IN FIRE-ARMS.
Specification forming part of Letters Patent No. 209,444, dated October 29, 1878; application filed April 16, 1878.
To all whom it may concern:
Be it known that I, ALVAN S. BALLARD, of Waterville, in the county of Oneida and State of New York, have invented a new and useful Improvement in Fire-Arms, of which the following is a description, reference being had to the accompanying drawing, forming part of this specification. This invention is more particularly designed to be applied to revolvers and other pistols, and has for its object the giving of fuller or better command over the arm or Weapon when firing it by securing for it a Steadier hold.
The invention relates to a thumb brace arranged to project laterally from the arm in proximity to the hammer, and serving as a rest for the thumb when aiming with and firing the arm.
The invention consists in a thumb brace or rest arranged to project laterally from the arm in proximity to the hammer and hinged to the side of the arm, so that it may be shut up or within the side of the arm when not in use, and thus be out of the way when carrying the arm in the pocket or elsewhere.
Furthermore, the invention consists in a combination, with the firing mechanism of the arm and a thumb-brace hinged to the side of the arm in proximity to the hammer, of means for automatically throwing said brace down or out when cocking the hammer, to form a rest for the thumb, and for automatically closing said brace against or within the side of the arm after the latter has been fired.
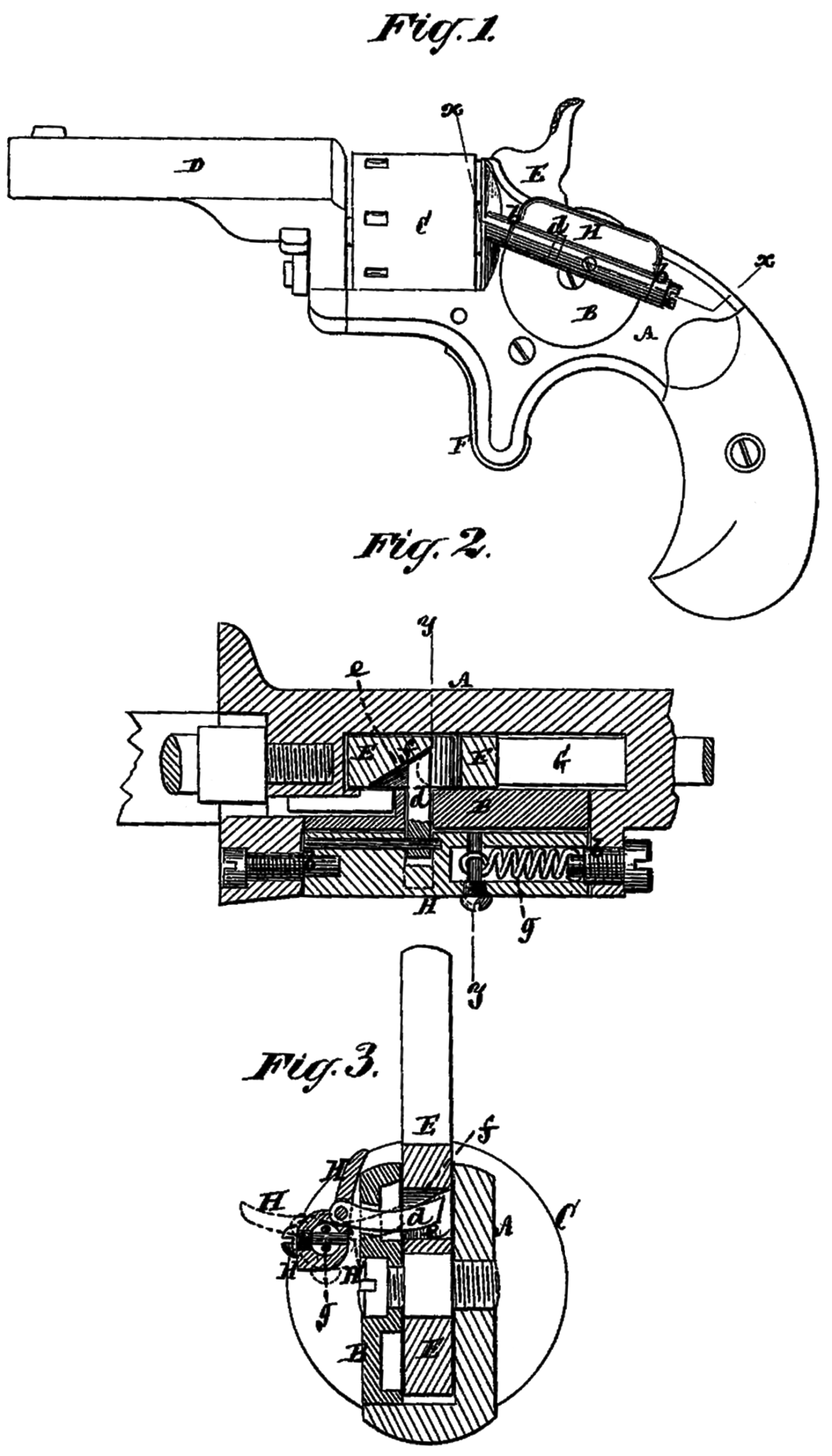
In the accompanying drawing, Figure 1 represents a side view of a revolver having my invention applied; Fig. 2, a sectional view, upon a larger scale, taken upon the irregular line x x in Fig. 1; and Fig. 3, a transverse Section on the irregular line y y in Fig. 2.
In the application of the invention as shown in the drawing, the thumb brace or rest is represented as hinged to the side of the arm and as combined with means for automatically opening and closing it; but said brace or thumb-rest may be simply a hinged one, to be closed by hand, according to the quality of the arm, or as other circumstances may suggest.
In the drawing, A is the metal frame or lock-case of the pistol, and B the face-plate of the lock. C is the revolving chamber of the arm, and D its barrel. E is the hammer; F, the trigger, and G the spring controlling the hammer.
H is the thumb-brace, pivoted at b b to the frame, face-plate of the lock, or other portion of the side of the arm, in proximity to the hammer, and so that when extended or thrown out, as shown by dotted lines in Fig. 3, it forms a rest for the thumb when taking aim with or firing the arm, and by giving greater steadiness to, increases the command over, the arm. Said thumb brace or rest may be formed of a metal plate, and be either flat, concave, or other suitable form on the surface on which the thumb rests. It may be made either to shut up against the side of the arm or to enter a recess therein, so that when closed it is out of the way when carrying the arm in the pocket or elsewhere. When extended it has a shouldered or other suitable rest against the side of the arm to keep it extended.
Pivoted to the thumb-brace H is an arm, d, arranged to enter a recess, e, in the hammer E, and so that when cocking the hammer an inclined plane, f, forming one of the walls of said recess, acts upon the arm d to extend or throw the brace out from the position represented for it by full lines in Fig. 3 to the position represented for it by dotted lines in said figure, such action taking place against the tension of a spring, g, within or applied to the brace, and serving to close the latter, as represented by full lines in Fig. 3, when the pistol is fired or hammer is down, and the inclined plane f allows of the arm d being projected sufficiently inward within the recess e. It is not, however, absolutely necessary that a spring should be used to automatically close the thumb-brace H against or within the side of the arm when it is not required to be thrown out to form a rest for the thumb in aiming with or firing the arm, as the trigger or the hammer, either directly or indirectly, may have combined with them various means for both opening and closing the thumb-brace.
I claim–
1. The combination, with the fire-arm, of a thumb brace or rest, hinged to the side of the arm in proximity to the hammer, and arranged to admit of its projection laterally from the side of the arm and to close up against or within the latter, essentially as described.
2. The combination, with the firing mechanism of the arm and a thumb-brace or rest hinged to the side of the arm in proximity to the hammer, of means for automatically throwing said brace down or out and of subsequently raising or closing it, substantially as and for the purposes herein set forth.
ALVAN S. BALLARD.
Witnesses:
CHAS. A. DANIELS,
R. S. BALLARD.
