France 27755 Brevet d’Invention sous garantie du Gouvernement. Le Ministre Secrétaire d’état au département de l’ Agriculture, du Commerce et des Travaux publics, Vie la loi du 5 juillet 1844; Via le procèsverbal deglis le 16 Mai 1856, à Sheures 50 minutes, au Secrétariat général de la Préfecture du département…
Read More
British 1177 (This Invention received Provisional Protection, but notice to proceed with the application for Letters Patent was not given ivithin the time prescribed by the Act.) PROVISIONAL SPECIFICATION left by Charles Carroll Tevis at the Office of the Commissioners of Patents, with his Petition, on the 17th May 1856.…
Read More
Belgium ??? Import: France 27755 Au sieur M. Pidault, représenté par le sieur H. Biebuyck, à Bruxelles, un brevet d’importation, à prendre date le 19 mai 1856, pour un nou veau système de revolver, breveté en sa faveur en France, pour quinze ans, le 16 mai 1856.
USA 14905 UNITED STATES PATENT OFFICE. SAML, COLT, OF HARTFORD, CONNECTICUT. IMPROVEMENT IN FIRE-ARMS Specification forming part of Letters Patent No. 14,905, dated May 20, 1856. To all whom it may concern: Beit known that I, Samuel Colt, of Hartford, in the State of Connecticut, have invented certain new and…
Read More
Belgium ??? Import: Britain 2497 (1855) Au sieur C. Hanson, représenté par le sieur H. Biebuyck, à Bruxelles, un brevet d’importation, à prendre date le 29 mai 1856, pour des perfectionnements apportés aux armes à feu (système revolver), brevetés en sa faveur en Angleterre, pour quatorze ans, le 7 novembre…
Read More
US 15032 UNITED STATES PATENT OFFICE. FREDK. B. E. BEAUMONT, OF UPPER WOODBALL, BARNSLEY, ENGLAND. IMPROVEMENT IN FIRE-ARMS. Specification forming part of Letters Patent No. 15,032, dated June 3, 1856. To all whom it may concern: Be it known that I, Frederick Blacket Edward Beaumont, of Upper Woodhall, Barnsley, in…
Read More
US 15110 UNITED STATES PATENT OFFICE. ALEXANDER HALL OF NEW YORK, N. Y., ASSIGNOR TO ALEXANDER HALL AND JAMES G. CALDWELL, IMPROVEMENT IN REPEATING FIRE-ARMS. Specification forming part of Letters Patent No. 15,110, dated June 10, 1856. To all whom it may concern: Be it known that I, Alexander Hall,…
Read More
USA 15144 UNITED STATES PATENT OFFICE. HENRY S. NORTH, OF MIDDLETOWN, CONNECTICUT. IMPROVEMENT IN FIRE-ARMS. Specification forming part of Letters Patent No. 15,144, dated June 17, 1856. To all whom it may concern: Be it known that I, Henry S. North, of Middletown, in the county of Middlesex and State…
Read More
USA 15167 UNITED STATES PATENT OFFICE. FORDYCE BEALS, OF NEW HAVEN, CONNECTICUT. IMPROVEMENT IN FIRE-ARMS. Specification forming part of Letters Patent No. 15,167, dated June 24, 1856. To all whom it may concern: Be it known that I, Fordyce Beals, of New Haven, in the county of New Haven and…
Read More
USA 15202 UNITED STATES PATENT OFFICE. IMPROVEMENT IN FIRE-ARMS. Specification forming part of Letters Patent No. 15,202, dated June 24, 1856. To all whom it may concern: Be it known that I, James Warner, of Springfield, in the county of Hampden and State of Massachusetts, have invented certain new and…
Read More
British 1608 LETTERS PATENT to Alfred Vincent Newton, of the Office for Patents, 66, Chancery Lane, in the County of Middlesex, Mechanical Draughtsman, for the Invention of “ Improvements nr Repeating Fire-arms.”— A communication. Sealed the 2nd December 1856, and dated the 8th July 1856. PROVISIONAL SPECIFICATION left by the…
Read More
USA 15388 UNITED STATES PATENT OFFICE. C. S. PETTENGILL, OF NEW HAVEN, CONNECTICUT. IMPROVEMENT IN REPEATING FIRE-ARMS. Specification forming part of Letters Patent No. 18,388, dated July 22, 1856. To all whom it may concern: Be it known that I, C. S. Pettengill, of the city of New Haven, in…
Read More
British 1913 LETTERS PATENT to William Tranter, of Birmingham, in the County of Warwick, Gun Maker, for the Invention of “Improvements in Fire-arms.” Sealed the 5th December 1856, and dated the 16th August 1856. PROVISIONAL SPECIFICATION left by the said William Tranter, at the Office of the Commissioners of Patents,…
Read More
British 2021 A.D. 1856 № 2021 N. Fire-arms. LETTERS PATENT to Hezekiah Conant, of the State of Connecticut, of the United States of America, for the Invention of “A New And Useful Improvement In Fire-Arms.” Sealed the 21st November 1856, and dated the 30th August 1856. PROVISIONAL SPECIFICATION left by…
Read More
British 2134 Repeating Fire-arms. LETTERS PATENT to John Talbot Pitman, of the American and European Patent Offices, No. 67, Gracechurch Street, in the City of London, for tbe Invention of “ Improvements in Repeating Fire-arms”—A communication. Sealed the 28th November 1856, and dated the 12th September 1856. PROVISIONAL SPECIFICATION left…
Read More
US 15734 UNITED STATES PATENT OFFICE E. H. GRAHAM, OF MANCHESTER, NEW HAMPSHIRE. IMPROVEMENT IN FIRE-ARMS. Specification forming part of Letters Patent No. 15,734, dated September 16, 1856. To all whom it may concern: Be it known that I, EDMUND H. GRAHAM, of Manchester, in the county of Hillsborough, and…
Read More
US 15797 UNITED STATES PATENT OFFICE. JOSEPH ADAMS, OF CLEVELAND, OHIO. IMPROVEMED FIRE-ARMS. Specification forming part of Letters Patent No. 15,797, dated September 30, 1856. To all whom it may concern: Be it known that I, Joseph Adams, of Cleveland, in the county of Cuyahoga and State of Ohio, have…
Read More
US 15925 UNITED STATES PATENT OFFICE. DR. ALEXANDRE LE MAT, OF NEW ORLEANS, LOUISIANA. IMPROVED FIRE-ARM. Specification forming part of Letters Patent No. 15,925, dated October 21, 1856. To all whom it may concern: Be it known that I, Dr. Alexandre Le Mat, of the city of New Orleans, State…
Read More
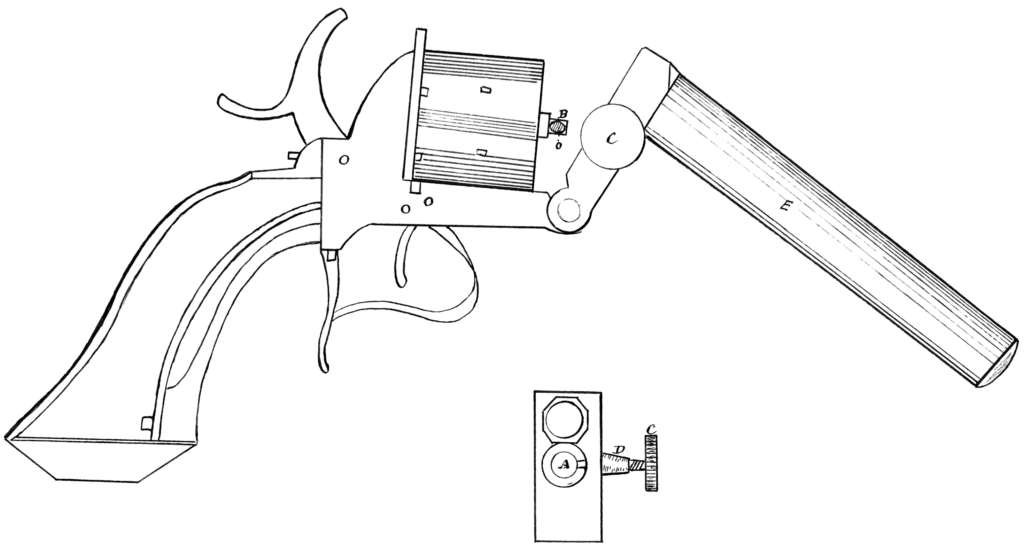
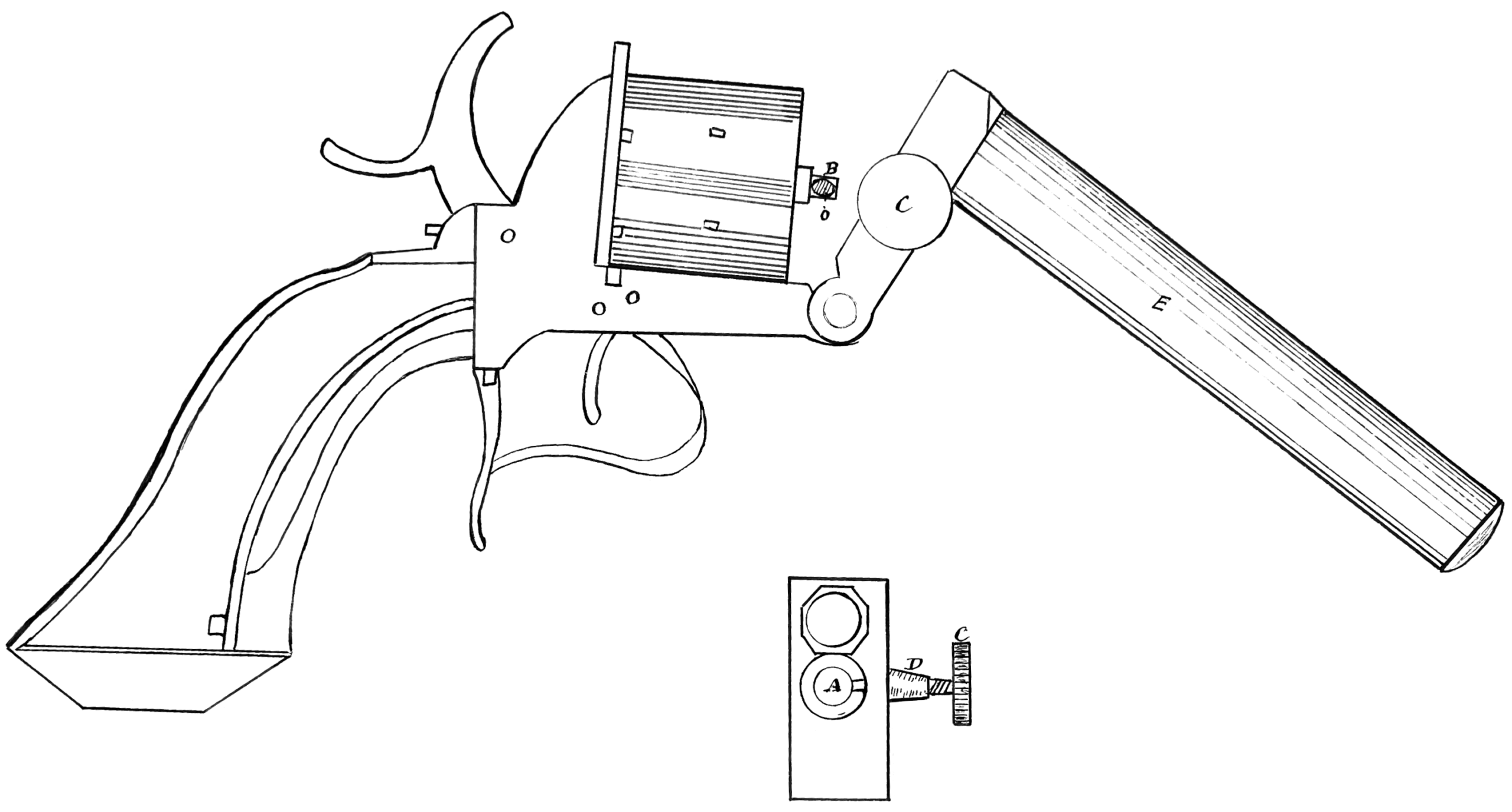
France 29055 (16987) BREVET D’INVENTION DE QUINZE ANS, En date du 5 septembre 1856, Au sieur LEFAUCHEUX, à Paris, Pour des perfectionnements apportés dans le mécanisme et la disposition générale des armes à feu. Pl. XXXVIII. Ces perfectionnements consistent, 1º En une disposition toute particulière d’armement et de percussion par…
Read More
France 29853 Brevet d’Invention sans garantie du Gouvernement. Le Ministre Secrétaire d’état au département de l’Agriculture, du Commerce et des Travaux publics, Ve la loi du 5 juillet +844; Vie le procès-verbal drefie le 18 Novembre 1856, à 10 heures Jo minutes, au Scoretarial général de la Préfecture du département…
Read More
France 17605 BREVET D’INVENTION (Patente américaine expirant le 22 juillet 1870), En date du 28 novembre 1856, Au sieur PETTENGILL, à New-York, Pour des perfectionnements apportés aux armes à feu à cylindre roulant. Pl. VIII. Cette invention a rapport au genre d’armes à feu dans lesquelles un cylindre, muni de…
Read More
British 2868 LETTERS PATENT to Henry Genhart, Armourer, of the City of Liege, in the Kingdom of Belgium, for the Invention of “ Impbovements in Fiee- ABKS AND OlLDNANCE, AND OE THE CARTRIDGES OB PROJECTILES 10 BE USED THEREWITH.** Sealed the 2nd June 1857, and dated the 3rd December 1856.…
Read More
US 16367 UNITED STATES PATENT OFFICE. ETHAN ALLEN, OF WORCESTER, MASSACHUSETTS. IMPROVEMED FIRE-ARM. Specification forming part of Letters Patent No. 16,867, dated January 13, 1857. To all whom it may concern: Be it known that I, Ethan Allen, of the city and county of Worcester, and State of Massachusetts, have…
Read More
USA 16411 UNITED STATES PATENT OFFICE. ALFRED TONKS, OF BOSTON, MASSACHUSETTS. IMPROVEMENT IN LOCKS OF FIRE-ARMS. Specification forming part of Letters Patent No. 16,411, dated January 13, 1857. To all whom it may concern: Be it known that I, Alfred Tonks, of Boston, in the county of Suffolk and State…
Read More
France 30677 (17950) BREVET D’INVENTION DE QUINZE ANS, En date du 24 janvier 1857, Au sieur MOUTIER, à Paris, Pour un révolver se chargeant par la culasse au moyen d’une cartouche spéciale. Ce système jouit d’un double mouvement de rotation, c’està-dire: 1º D’un mouvement continu, celui qui provoque le coup…
Read More
US 16477 UNITED STATES PATENT OFFICE. HEINRICH GENEART, OF LIEGE, BELGIUM. IMPROVEMENT IN REPEATING FIRE-ARMS. Specification forming part of Letters Patent No. 16,477, dated January 27, 1857. To all whom it may concern: Be it known that I, Heinrich Genhart, of the town of Liege, in the Kingdom of Belgium,…
Read More
USA 16575 UNITED STATES PATENT OFFICE. FRANCIS S. BRETTELL AND JOS. B. FRISBIE, OF ALLEGEIENY CITY, PA. IMPROVEMENT IN FIRE-ARMS. Specification forming part of Letters Patent No. 16,575, dated February 10, 1857. To all whom it may concern: Be it known that we, Francis S. Brettell and Joseph. B. Frisbie,…
Read More
US 16683 UNITED STATES PATENT OFFICE. SAML, COLT, OF HARTFORD, CONNECTICUT. IMPROVEMENT IN MANY-CHAMBERED ROTATING-BREECH FIRE-ARMS. Specification forming part of Letters Patent No. 16,683, dated February 21, 157. To all whom it may concern: i. Be it known that I, Samuel Colt, of Hartford, in the State of Connecticut, have…
Read More
USA 16716 UNITED STATES PATENT OFFICE. SAML. COLT, OF HARTFORD, CONNECTICUT, IMPROVEMENT IN THE MODE OF LUBRICATING FIRE-ARMS. Specification forming part of Letters Patent No. 16,716, dated March 3, 1857. To all whom it may concern: Be it known that I, Samuel Colt, of Hartford, in the State of Connecticut,…
Read More
France 31385 Brevet d’Juveution saus garantie du Gouvernement. Le Ministre Secrétaire d’Etat au département de l’Agriculture, du Commerce et des Travaux publics, Vie la loi du 5 juillet 1844; Via le procès verbal diego le 21 mars 185%, à1 thoures 15 minutes, au Secrétariat général de la Préfecture du département…
Read More
Britain 921 A.D. 1857 — N° 921. Repeating Fire-arms. LETTERS PATENT to Alfred Vincent Newton, of the Office for Patents, 66, Chancery Lane, in the County of Middlesex, Mechanical Draughts man, for the Invention of “IMPROVEMENTS IN REPEATING FIRE-ARMS.” A communication. Sealed the 11th September 1857, and dated the 2nd…
Read More
USA 17044 UNITED STATES PATENT OFFICE. JAMES KERR, OF LONDON, ENGLAND. IMPROVED RAMMER FOR MANY-CHAMBERED BREECH FIRE-ARMS. Specification forming part of Letters Patent No. 17,044, dated April 14, 1857. To all whom it may concern: Be it known that I, James Kerr, a subject of the Queen of Great Britain,…
Read More
USA 17032 UNITED STATES PATENT OFFICE. JOSIAH ELLS, OF PITTSBURG, PENNSYLVANIA. IMPROVEMENT IN REVOVING FIRE-ARMS. Specification forming part of Letters Patent No. 17,032, dated April 14, 1857. To all whom it may concern: Be it known that I, Josiah Ells, of Pittsburg, county of Allegheny, and State of Pennsylvania, have…
Read More
British 1100 A.D. 1857. № 1100. Revolver Fire-arms. (This Invention received Provisional Protection, but notice to proceed with the application for Letters Patent was not given within the time prescribed by the Act.) PROVISIONAL SPECIFICATION left by Gustav Jahn at the Office of the Commissioners of Patents, with his Petition,…
Read More
British 1098 LETTERS PATENT to William Henry Dearing Granville, of 44, Holborn Hill, in the City of London, Gun Manufacturer, for the Invention of “ Improvements in Fire-arms and in the Means of Loading the same.” Sealed the 16th October 1857, and dated the 18th April 1857. PROVISIONAL SPECIFICATION left…
Read More
USA 17143 UNITED STATES PATENT OFFICE. JOSIAH ELLS, OF PITTSBURG, PENNSYLVANIA. IMPROVEMENT IN FIRE-ARMS. Specification forming part of Letters Patent No. 17,143, dated April 28, 1857. To all whom it may concern: Be it known that I, Josiah Ells, of Pittsburg, in the county of Allegheny and State of Pennsylvania,…
Read More
Britain 1213 A.D. 1857 — N ° 1213. Fire-arms. LETTERS PATENT to Henry Ball, Gun Maker, Great Russell Street, Birmingham, for the Invention of “Improvements In Repeating And Other Fire-Arms.” Sealed the 27th October 1857, and dated the 30th April 1857. (Void by reason of the Patentee having neglected to…
Read More
France 32286 (18612) BREVET D’INVENTION DE QUINZE ANS, En date du 23 mai 1857, Au sieur PIDAULT, à Paris, Pour un pistolet révolver perfectionné. Pl. LX. Le révolver qui fait l’objet de ce brevet, tout en possédant les qualités des révolvers connus jusqu’à ce jour, présente les trois caractères suivants:…
Read More
USA 17359 UNITED STATES PATENT OFFICE. FORDYCE BEALS, OF NEW HAVEN, CONNECTICUT. IMPROVEMENT IN REVOVING FIRE-ARMS. Specification forming part of Letters Patent No. 17,359, dated May 26, 1857. To all whom it may concern: Be it known that I, Fordyce Beals, of the city of New Haven, in the county…
Read More
USA 17382 UNITED STATES PATENT OFFICE. EDWARD LINDNER, OF NEW YORK, N.Y. IMPROVEMENT IN FIRE-ARMS. Specification forming part of Letters Patent No. 17,382, dated May 26, 1857. To all whom it may concern: Be it known that I, Edward Lindner, of New York, in the county and State of New…
Read More
Belgium ??? Import: France 32286 Au sieur M. Pidault, représenté par le sieur H. Biebuyck, à Bruxelles, un brevet d’importation, à prendre date le 30 mai 1857, pour un pistolet revolver perfectionné breveté en sa faveur en France, pour quinze ans, le 23 mai 1857.
Britain 1574 A.D. 1857 — N 1574. Pistol Holsters. (This Invention received Provisional Protection, but notice to proceed with the application for Letters Patent was not given within the time prescribed by the Act.) PROVISIONAL SPECIFICATION left by William Harding at the Office of the Commissioners of Patents, with his…
Read More
France 18797 BREVET D’INVENTION (Patente américaine expirant le 11 mars 1870), En date du 4 juin 1857, Au sieur STORM, de New-York, Pour de nouveaux perfectionnements dans les armes à feu à culasse multiple, dites revolvers. Pl. XXX. Le but général de mes perfectionnements est d’obtenir un revolver, ou arme…
Read More
France 18879 BREVET D’INVENTION DE QUINZE ANS, En date du 26 juin 1857, Au sieur GUENAULT, à Paris, Pourdes perfectionnements apportés aux armes à feu. Pl. XXXVIII, fig. 1, 2, 3 et 4. Ces perfectionnements, qui font particulièrement l’objet d’un certificat d’addition en date du 10 février 1858, ont rapport…
Read More
USA 17698 UNITED STATES PATENT OFFICE. JACOB SHAW, JR., OF HINCKLEY, OHIO. IMPROVEMENT IN FIRE-ARMS. Specification forming part of Letters Patent No. 17,698, dated June 30, 1857. To all whom it may concern: Be it known that I, JACOB SHAW, Jr., of the township of Hinckley, in the county of…
Read More
France 30677 Additional CERTIFICAT D’ADDITION, En date du 21 juillet 1857. Les perfectionnements, objet de cette addition, consistent dans la simplification du mécanisme. La figure 19, pl. II, est une section faite dans la batterie du pistolet, faisant voir le mouvement qui en compose le mécanisme. Il est à remarquer…
Read More
US 17904 UNITED STATES PATENT OFFICE. JAMES WARNER, OF SPRING FIELD, MASSACHUSETTS, IMPROVEMENT IN REVOLVING FIRE-ARMS. Specification forming part of Letters Patent No. 17,904, dated July 28, 1857. To all whom it may concern: Be it known that I, James Warner, of Springfield, county of Hampden, and State of Massachusetts,…
Read More
British 2625 LETTERS PATENT to John Field Swinburn, of Birmingham, in the County of Warwick, Gun Maker, for the Invention of “Improvements in Firearms.” —A communication from Thomas Bailey, of New Orleans, United States, Gun Maker. Sealed the 13th April 1858, and dated the 14th October 1857. PROVISIONAL SPECIFICATION left…
Read More
British 2657 LETTERS PATENT to Joseph Bentley, of Liverpool, in the County of Lancaster, Gun Manufacturer, for the Invention of “ Improvements in Fire-arms.” Sealed the 16th April, 1858, and dated the 17th October 1857. PROVISIONAL SPECIFICATION left by the said Joseph Bentley at the Office of the Commissioners of…
Read More
US 18486 UNITED STATES PATENT OFFICE. GEO. R. CROOKER, OF NEW YORK, ASSIGNOR TO GEO. G. MARTIN, OF BROOKLYN, N.Y. IMPROVED MODE OF PRIMING REPEATING FIRE-ARMS. Specification forming part of Letters Patent No. 18,486, dated October 20, 1857. To all whom it may concern: Be it known that I, G.…
Read More
Belgium 5115 Brevet d’invention Le ministre de l’intérieur, Vu la loi du 24 mai 1854; Vu le procès-verbal dressé le treize Octobre 1857 à une heure et quinze minutes de relevée au Greffe du Gouvernement provincial de Liège et constatant le dépôt régulier fait par le Sieur P.A. Loron, armurier…
Read More
British 2690 LETTERS PATENT to Charles Reeves, of Birmingham, in the County of Warwick, Manufacturer, for the Invention of “Improvements nr Repeating or Revolving Fire-arms.” Sealed the 13th April 1858, and dated the 22nd October 1857. PROVISIONAL SPECIFICATION left by the said Charles Reeves at the Office of the Commissioners…
Read More
British 2824 Revolver Fire-arms. LETTERS PATENT to John Adams, of Queen’s Road, Dalston, in the County of Middlesex, for the Invention of “ Improvements in Revolver Fibe- ARHS.” Sealed the SOth April 1858, and dated the 7th November 1857. PROVISIONAL SPECIFICATION left by the said John Adams at the Office…
Read More
British 2882 Fire-arms and Detonating Compounds. LETTERS PATENT to George Tomlinson Bousfield, of Loughboro* Park, Brixton, in the County of Surrey, for the Invention of “ Improvements in Fire-arms, and in Detonating Compounds to be used therewith.”—A communication. Sealed the 26th January 1858, and dated the 17th November 1857. PROVISIONAL…
Read More
US 18678 UNITED STATES PATENT OFFICE. SAML. COLT, OF HARTFORD, CONNECTICUT. IMPROVEMENT IN MANY-CHAMBERED ROTATING-BREECH FIRE-ARMS. Specification forming part of Letters Patent No. 18,678, dated November 24, 1857. To all whom it may concern: Be it known that I, Samuel Colt, of Hartford, in the State of Connecticut, have invented…
Read More
US 18836 UNITED STATES PATENT OFFICE. ETHAN ALLEN, OF WORCESTER, MASSACHUSETTS. IMPROVEMENT IN REVOVING FIRE-ARMS. Specification forming part of Letters Patent No. 18,836, dated December 15, 1857. To all whom it may concern: Be it known that I, ETHAN ALLEN, of Worcester, in the county of Worcester, in the State…
Read More
British 3156 LETTERS PATENT to Charles Reeves, of Birmingham, in the County of Warwick, Manufacturer, for the Invention of “Improvements in Repeating or Revolving Fire-arms.” Sealed the 13th April 1858, and dated the 24th December 1857. PROVISIONAL SPECIFICATION left by the said Charles Reeves at the Office of the Commissioners…
Read More
Belgium ??? Import: France 31385 Au sieur J.-P.-A. Chevereau, représenté par le sieur A. Francotte, à Liège un brevet d’importation, à prendre date le 30 décembre 1857, pour un perfectionnement aux armes à feu revolvers breveté en sa faveur en France, pour quinze ans, le 21 mars 1857.
British 235 AD. 1858, 8th February. № 235 Repeating and other Fire arms, &c. LETTERS PATENT to Henry Ball, of Birmingham, in the County of Warwick, Gun Manufacturer, for the Invention of “Improvements in Repeating and other Fire-arms, a Portion of which Improvements may be applied to Ordnance.” Sealed the…
Read More
USA 19327 UNITED STATES PATENT OFFICE. F. D. NEWBURY, OF ALBANY, NEW YORK, ASSIGNOR TO RICHARD V. DE WITT, JR, OF SAME PLACE. IMPROVEMENT IN FIRE-ARMS. Specification forming part of Letters Patent No. 19,327, dated February 9, 1858. To all whom it may concern: Be it known that I, Frederick…
Read More
US 19739 UNITED STATES PATENT OFFICE. F. D. NEWBURY, OF ALBANY, NEW YORK, ASSIGNOR TO R. V. DE WITT, JR. IMPROVEMENT IN REVOVING FIRE-ARMS. Specification forming part of Letters Patent No. 19,739, dated March 23, 1858. To all whom it may concern: Be it known that I, Frederick D. Newbury,…
Read More
British 669 Revolver Fire-arms; Apparatus for Manufacturing Projectiles. LETTERS PATENT to William Harding, of Forest Hill, in the County of . Kent, for the Invention of “ Improvements in Revolver Fire-arms and in Apparatus for Manufacturing Projectiles.” Sealed the 25th September 1858, and dated the 29th March 1858. PROVISIONAL SPECIFICATION…
Read More
US 19868 UNITED STATES PATENT OFFICE. HENRY S. NORTH, OF MIDDLETOWN, CONNECTICUT IMPROVEMENT IN REMOVABLE RAMMERS OF REVOLVING FIRE-ARMS. Specification forming part of Letters Patent No. 19,868, dated April 6, 1858. To all whom it may concern: Be it known that I, HENRY S. NORTH, of Middletown, in the county…
Read More
US 19961 UNITED STATES PATENT OFFICE. R. WHITE, OF HARTFORD, CONNECTICUT. IMPROVEMENT IN REVOVING FIRE-ARMS. Specification forming part of Letters Patent No. 19,961, dated April 13, 1858. To all whom it may concern: Be it known that I, Rollin White, of the city of Hartford, in the county of Hartford,…
Read More
Belgium ??? Import: Britain 3156 (1857) Au sieur Reeves (Ch.). représenté par le sieur Kirkpatrick (R.-S.), à Ixelles un brevet d’importation, à prendre date le 3 mai 1858, pour des perfectionnements apportés aux armes à feu (système revolver), brevetés en sa faveur en Angleterre, pour 14 ans, le 24 décembre…
Read More
US 20160 UNITED STATES PATENT OFFICE. B. F. JOSLYN, OF WORCESTER, MASSACHUSETTS. IMPROVEMENT IN REVOVING FIRE-ARMS. Specification forming part of Letters Patent No. 20,160, dated May 4, 1858. To all whom it may concern: Be it known that I, Benjamin F. Joslyn, of Worcester, in the county of Worcester and…
Read More
US 20144 UNITED STATES PATENT OFFICE. SAMIL. COLT, OF HARTFORD, CONNECTICUT, IMPROVEMENT IN REVOVING FIRE-ARMS. Specification forming part of Letters Patent No. 20,144, dated May 4, 1858, To all whom it may concern: Be it known that I, Samuel Colt, of Hartford, in the State of Connecticut, have made certain…
Read More
British 1159 Revolver Fire-arms. LETTERS PATENT to William Harding, of Forest Hill, in the County of Kent,’ for the Invention of “ Improvements in Revolver Fire-arms.” Sealed the 19th October 1858, and dated the 24th May 1858. PROVISIONAL SPECIFICATION left by the said William Harding at the Office of the…
Read More
Belgium ??? Britain 2824 (1857) Au sieur Adams (J.), représenté par le sieur Piddington (J.), à Bruxelles, un brevet d’importation, à prendre date le 31 mai 1858, pour des perfectionnements dans les armes à feu revolvers, brevetés en sa faveur en Angleterre, pour 14 ans, le 7 novembre 1857.
France 36825 (20999) BREVET D’INVENTION DE QUINZE ANS, En date du 2 juin 1858, Au sieur ADAMS, à Londres, Pour des perfectionnements dans les armes à feu dites révolvers. Pl. XXVII. Mon invention consiste dans l’introduction entre le chien et la capsule, sur la cheminée, d’un verrou glissant dans un…
Read More
US 20496 UNITED STATES PATENT OFFICE. M. KINSEY, OF NEWARK, NEW JERSEY. IMPROVEMENT IN REVOLVING FIRE-ARMS. Specification forming part of Letters Patent No. 20,496, dated June 8, 1858. To all whom it may concern: Be it known that I, Moses Kinsey, of Newark, in the county of Essex and State…
Read More
Britain 1306 A.D. 1858, 9th JUNE. N° 1306. Revolving Fire-arms, & c. ( This Invention received Provisional Protection, but notice to proceed with the application for Letters Patent was not given within the time prescribed by the Act.) PROVISIONAL SPECIFICATION left by Thomas Wright Gardener Treeby at the Office of…
Read More
US 20607 UNITED STATE PATENT OFFICE. F. H. HARRINGTON, OF SPRINGFIELD, MASSACEUSETTS, ASSIGNOR TO FORACE SMITH AND DANL. B. WESSON. IMPROVEMENT IN REVOLVING FIRE-ARMS. Specification forming part of Letters Patent No. 20,607, dated June 15, 1858. To all whom it may concern: Be it known that I, Francis H. Harrington,…
Read More
US 20765 UNITED STATE PATENT OFFICE. F. D. NEWBURY, OF ALBANY, NEW YORK, ASSIGNOR TO R. V. DE WITT, JR. OF SAME PLACE. IMPROVEMENT IN REVOLVING FIRE-ARMS. Specification forming part of Letters Patent No. 20,765, dated June 29, 1858. To all whom it may concern: Be it known that I,…
Read More
Belgium 5984 Brevet d’invention Le ministre de l’intérieur, Vu la loi du 24 mai 1854; Vu le procès-verbal dressé le quatre Juin 1858 à une heure et quinze minutes de relevée au Greffe du Gouvernement provincial de Liège et constatant le dépôt régulier fait par le Sieur J. Chaineux, armurier…
Read More
British 1593 Repeating Fire-arms. LETTERS PATENT to Richard Brazier, of Wolverhampton, in the County of Stafford, Manufacturer, for the Invention of “ Improvements nr Repeating Fire-arms.” Sealed the 25th September 1858, and dated the 15th July 1858. PROVISIONAL SPECIFICATION left by the said Richard Brazier at the Office of the…
Read More
British 1623 LETTERS PATENT to Charles Reeves, of Birmingham, in the County of •Warwick, Manufacturer, for the Invention of “Improvements in Repeating Fire-arms,” Sealed the 5th October 1858, and dated the 19th July 1858. PROVISIONAL SPECIFICATION left by the said Charles Reeves at the Office of the Commissioners of Patents,…
Read More
British 1634 LETTERS PATENT to Thomas Bailey, of New Orleans, United States, and of 17, Russell Street, Birmingham, in the County of Warwick, Gun Manufacturer, for the Invention of “ ImpbovejSehts in Repeating FIREARMS.” Sealed the 5th October 1858, and dated the 20th July 1858. PROVISIONAL SPECIFICATION left by the…
Read More
US 21054 UNITED STATES PATENT OFFICE. E. A. RAYMOND AND C. ROBITAILLE, OF BROOKLYN, NEW YORK, ASSIGNORS TO THEMSELVES, J. B. RICHARDS, AND T. K. AUSTIN.. IMPROVEMENT IN REVOVING FIRE-ARMS. Specification forming part of Letters Patent No. 21,054, dated July 27, 1858. To all whom it may concern: Beit known…
Read More
US 21215 UNITED STATES PATENT OFFICE. J. RIDER, OF NEWARK, OHIO. IMPROVEMENT IN REVOVING FIRE-ARMS. Specification forming part of Letters Patent No. 21,215, dated August 17, 1858. To all whom it may concern: Be it known that I, Joseph Rider, of Newark, in the county of Licking and State of…
Read More
US 21188 UNITED STATES PATENT OFFICE. W. H. ELLIOT, OF PLATTSBURG, NEW YORK. IMPROVEMENT IN REVOVING FIRE-ARMS. Specification forming part of Letters Patent No. 21,188, dated August 17,1858, To all whom it may concern: Be it known that I, Wm. H. Elliot, of Plattsburg, county of Clinton, State of New…
Read More
US 21400 UNITED STATES PATENT OFFICE. ETHAN ALLEN OF WORCESTER, MASS ACHUSETTS, IMPROVEMENT IN REVOVING FIRE-ARMS. Specification forming part of Letters Patent No. 21,400, dated September 7, 1858. To all whom it may concern: Beit known that I, Ethan Allen, of Worcester, in the county of Worcester and State of…
Read More
US 21478 UNITED STATES PATENT OFFICE. FORDYCE BEALS, OF NEW HAVEN, CONNECTICUT. IMPROVEMENT IN REVOVING FIRE-ARMS. Specification forming part of Letters Patent No. 21,478, dated September 14, 1858. To all whom it may concern: Be it known that I, Fordyce Beals, of New Haven, in the county of New Haven…
Read More
US 20765-AI204 UNITED STATES PATENT OFFICE. FREDERICK D. NEWBURY, OF ALBANY, NEW YORK. IMPROVEMENT IN REVOLVING FIRE-ARMS. Specification forming part of Letters Patent No. 20,765, dated June 29, 1858; Additional Improvement No. 204, dated September 28, 1858. To all whom it may concern: Be it known that I, FREDERICK D.…
Read More
US 21623 UNITED STATES PATENT OFFICE. WILLIAM PALMER, OF NEW YORK, N. Y. IMPROVEMENT IN REVOVING FIRE-ARMS. Specification forming part of Letters Patent No. 21,623, dated September 28, 1858. To all whom it may concern: Be it known that I, William Palmer, of the city, county, and State of New…
Read More
US 21730 UNITED STATES PATENT OFFICE. THOMAS K. AUSTIN, OF NEW YORK, N.Y. IMPROVEMENT IN REVOLVING FIRE-ARMS. Specification forming part of Letters Patent No. 21,730, dated October 12, 1858. To all whom it may concern: Be it known that I, Thomas K. Austin, of the city and State of New…
Read More
British 2436 LETTERS PATENT to William Palmer, of the City and State of New York, United States of America, for the Invention of “ Improvements in Firearms.” Sealed the 1st April 1859, and dated the 1st November 1858. PROVISIONAL SPECIFICATION left by the said William Palmer at the Office of…
Read More
Belgium 6583 Imp. pour des perfectionnements dans les armes à feu brevetés en sa faveur en Angleterre pour qua torze ans le 4 septembre 1858
US 22005 UNITED STATES PATENT OFFICE. ETHAN ALLEN, OF WORCESTER, MASSACHUSETTS. IMPROVEMENT IN REVOVING FIRE-ARMS. Specification forming part of Letters Patent No. 22,005, dated November 9, 1858. To all whom it may concern: Be it known that I, Ethan Allen, of the city and county of Worcester, and State of…
Read More
France 38649 (21701) BREVET D’INVENTION DE QUINZE ANS, En date du 15 novembre 1858, Au sieur EYRAUD, à Saint-Étienne, Pour un révolver. Cette invention a pour objet un pistolet ou fusil révolver se chargeant par la culasse au moyen d’un cylindre à plusieurs coups, ledit cylindre tournant à l’aide d’une…
Read More
Belgium ??? Import: France 38649 Au sieur C. Eyrand, représenté par le sieur F. Clavareau, à Bruxelles, un brevet d’importation, à prendre date le 17 novembre 1859, pour un système de fusil et de pistolet revolver à pla tine et engrenage, breveté en sa faveur en France, pour quinze ans,…
Read More
France 32286 Additional CERTIFICAT D’ADDITION, En date du 4 décembre 1858. Les perfectionnements objet de cette addition consistent: 1º Dans un système d’arrêt de sûreté pour rendre l’arme inoffensive; 2º Dans une bascule chasse-cartouche, pour débarrasser le tonnerre de la cartouche servant indéfiniment; 3º Dans une culée mobile à ressort…
Read More
US 3998-RE633 UNITED STATES PATENT OFFICE. ETHAN ALLEN, OF WORCESTER, MASSACHUSETTS. IMPROVEMENT IN PISTOLS AND OTHER FIRE-ARMS. Specification forming part of Letters Patent No. 3,998, dated April 16, 1845; Reissue No. 633, date December 14, 1858. To all whom it may concern: Be it known that I, ETHAN ALLEN, of…
Read More
British 2896 LETTERS PATENT to James Kerr, of 17, Bedford Terrace, Trinity Square, Southwark, in the County of Surrey, Engineer, for the Invention of “ Improvements nr the Construction of Revolving Fire-arms.” Sealed the 25th February 1859, and dated the 17th December 1858. PROVISIONAL SPECIFICATION left by the said James…
Read More
US 22348 UNITED STATES PATENT OFFICE. E. CLAUDE, OF NEW YORK, N.Y. IMPROVEMENT IN BREECH-LOADING REVOLVING FIRE-ARMS. Specification forming part of Letters Patent No. 22,348, dated December 21, 1858. To all whom it may concern: Be it known that I, E. claude, of New York, in the county of New…
Read More
France 39199 (22289) BREVET D’INVENTION DE QUINZE ANS, En date du 22 décembre 1858, Au sieur DEVISME, à Paris, Pour un nouveau système de révolver. Pl. XXVIII. La disposition actuelle des révolvers se chargeant par la culasse est très-défectueuse, en ce qu’elle ne permet l’introduction des cartouches qu’en agissant un…
Read More
US 22412 UNITED STATES PATENT OFFICE. JNO. W. COCHRAN, OF NEW YORK, N.Y. IMPROVEMENT IN REVOLVING FIRE-ARMS. Specification forming part of Letters Patent No. 22,412, dated December 28, 1858. To all whom it may concern: Beit known that I, John W. Cochran, of the city of New York, in the…
Read More
Britain 2990 A.D. 1858, 30th DECEMBER. N ° 2990. Revolving Fire-arms. LETTERS PATENT to Richard Archibald Brooman, of 166, Fleet Street, in the City of London, E.C., Patent Agent, for the Invention of “Improvements in Revolving Fire-arms”— A communication from L. F. Devisme, residing at Paris. Sealed the 28th June…
Read More
US 22511 UNITED STATES PATENT OFFICE. C. S. PETTENGILL, OF NEW HAVEN, CONNECTICUT. IMPROVEMENT IN REVOVING FIRE-ARMS. Specification forming part of Letters Patent No. 22,511, dated January 4, 1859. To all whom it may concern: Be it known that I, C. S. Pettengill, of the city and county of New…
Read More
France 39199 add CERTIFICAT D’ADDITION, En date du 12 janvier 1859. Je viens annexer à mon brevet primitif un certificat d’addition caractérisé par la nouvelle disposition de la baguette qui se trouve en dessus du canon lorsque le pistolet est chargé, et que l’on ramène, par une rotation partielle, en…
Read More
US 22666 UNITED STATES PATENT OFFICE. H. S. NORTH OF MIDDLETON, AND E. SAVAGE, OF CROMWELL CONN. IMPROVEMENT IN REVOVING FIRE-ARMS. Specification forming part of Letters Patent No. 22,666, dated January is, 1559. To all whom it may concern: Be it known that we, Henry S. North, of Middleton, in…
Read More
France 39572 (22592) BREVET D’INVENTION DE QUINZE ANS, En date du 14 décembre 1858, Au sieur BOUDIN, à Aix-en-Othe (Aube), Pour un nouveau système d’aiguilles applicables aux métiers de bonneterie à côtes. Pl. XLI. Le nouveau modèle d’aiguilles présente plusieursavantages importants: 1º Cette aiguille est en acier trempé et d’une…
Read More
France 39199 add CERTIFICAT D’ADDITION, En date du 26 janvier 1859. Le pistolet révolver, tel qu’il est décrit dans mon brevet principal et la précédente addition, exige deux mouvements: 1º La rotation du levier qui effectue l’abatage du canon et du tonnerre; 2º Le mouvement rotatif partiel de la partie…
Read More
British 242 Revolving Fire-arms. LETTERS PATENT to James Kerr, of 17, Bedford Terrace, Trinity Square, Southwark, in the County of Surrey, Engineer, for the Invention of “ Improvements in the Construction of Revolving Fire-arms.’* Scaled the 10th June 1859, and dated the 26th January 1859. PROVISIONAL SPECIFICATION left by the…
Read More
US 22905 UNITED STATES PATENT OFFICE. JOHN WALCH, OF NEW YORK, N. Y. IMPROVEMENT IN REVOVING FIRE-ARMS. Specification forming part of Letters Patent No. 22,905, dated February 8, 1859. To all whom it may concern: Be it known that I, John Walch, of New York, in the county and State…
Read More
France 39819 (22894) BREVET D’INVENTION DE QUINZE ANS, En date du 9 février 1859, Au sieur PERRIN, à Paris, Pour des perfectionnements apportés aux pistolets-revolvers. Ce qui suit est un certificat d’addition en date du 14 juin 1865, venu après un premier certificat d’addition en date du 9 juillet 1859.…
Read More
US 23087 UNITED STATES PATENT OFFICE. WILLIAM. C. HAYNES, OF MELROSE, TEXAS. IMPROVEMENTS IN REVOLVING FIRE-ARMS. Specification forming part of Letters Patent No. 23,087, dated March 1, 1859. To all whom it may concern: Be it known that, I, William C. Haynes, of Melrose, in the county of Nacogdoches, and…
Read More
Britain 538 A.D. 1853 – N° 538. Rotating Breech Fire-arms. LETTERS PATENT to Samuel Colt, of Spring Gardens, in the County of Middlesex, Gentleman, for the Invention of “Improvements In Rotating Breech Fire-Arms.” — Partly a communication. Sealed the 23d April 1853, and dated the 3d March 1859. PROVISIONAL SPECIFICATION…
Read More
France 40594 (23092) BREVET D’INVENTION DE QUINZE ANS, En date du 11 avril 1859, Au sieur LEFAURE, à Paris, Pour un perfectionnement applicable aux révolvers. Pl. XLIV. Ce perfectionnement, applicable aux armes dites révolvers et particulièrement à celles à deux détentes, consiste en un cliquet placé à charnière dans le…
Read More
US 23711 UNITED STATES PATENT OFFICE. JACOB RUPERTUS, OF PHILADELPHIA, PENNSYLVANIA. IMPROVEMENT IN REVOVING FIRE-ARMS. Specification forming part of Letters Patent No. 23,711, dated April 19, 1859. To all whom it may concern: Be it known that I, Jacob Rupertus, of the city of Philadelphia, in the county of Philadelphia…
Read More
Belgium 7369 Brevet de perfectionnement. Le ministre de l’intérieur, Vu la loi du 24 mai 1854; Vu le procès-verbal dressé le huit avril 1859 à dix heures trente minutes du matin au Greffe du Gouvernement provincial de Liège et constatant le dépôt régulier fait par le Sieur J. Chaineux, à…
Read More
US 23861 UNITED STATES PATENT OFFICE. JOSEPH RIDER, OF NEWARK, OHIO. IMPROVEMENT IN REVOVING FIRE-ARMS. Specification forming part of Letters Patent No. 23,861, dated May 3, 1859. To all whom it may concern: Be it known that I, Joseph Rider, of Newark, in the county of Licking and State of…
Read More
France 41170 (24034) BREVET D’INVENTION DE QUINZE ANS, En date du 28 mai 1859, Au sieur CLAUDIN, à Paris, Pour l’adaptation aux révolvers à cartouches d’un couvre-broches de sûreté. Pl. XVIII. Ce perfectionnement a pour résultat d’empêcher le contact extérieur de la broche des cartouches dans les différents systèmes de…
Read More
Belgium ??? France 21404 Au sieur Devisme (L.-F.), représenté par le sieur H. Biebuyck, à Bruxelles, un brevet d’importation, à prendre date le 27 novembre 1854, pour un pistolet revolver français, breveté en sa faveur, en France pour, 15 ans, le 20 novembre 1854.
US 24312 UNITED STATES PATENT OFFICE. A. LE MAT, OF NEW ORLEANS, LOUISIANA. ADJUSTABLE HAMMER FOR REVOVING FIRE-ARMS. Specification of Letters Patent No. 24,312, dated June 7, 1859. To all whom it may concern: Be it known that I, Alex. Le Mat, of New Orleans, State of Louisiana, have invented…
Read More
US 24274 UNITED STATES PATENT OFFICE. THOMAS BAILEY, OF NEW ORLEANS, LOUISIANA. IMPROVEMENT IN REVOVING FIRE-ARMS. Specification forming part of Letters Patent No. 24,274, dated June 7, 1859. To all whom it may concern: Be it known that I, Thomas Bailey, of the city of New Orleans, in the State…
Read More
Belgium 7653 Imp. Système de fusil et de revolver se chargeant par la culasse à inflammation centrale breveté en sa faveur en France pour 15 ans le 5 mars 1853
US 24666 UNITED STATES PATENT OFFICE. HORACE SMITH AND D. B. WESSON, OF SPRINGFIELD, MASSACEUSETTS, IMPROVEMENT IN REVOLVING FIRE-ARMS. Specification forming part of Letters Patent No. 24,666, dated July 5, 1859. To all whom it may concern: Be it known that we, Horace Smith and Daniel B. Wesson, both of…
Read More
British 1622 Revolving or Repeating Fire-arms. LETTERS PATENT to Francis Alexandre Le Mat, of New Orleans, in the State of Louisiana, in the United States of America, Colonel Aide-de-Camp, for the Invention of “ Improvements in the Construction of Revolving or Repeating Fire-arms.” Sealed the 4th January 1860, and dated…
Read More
US 24726 UNITED STATES PATENT OFFICE. WILLARD C. ELLIS AND JOHN N. WHITE, OF SPRINGFIELD, MASSACEUSETTS. IMPROVEMENT IN REVOLVING FIRE-ARMS. Specification forming part of Letters Patent No. 24,726, dated July 12, 1859. To all whom it may concern: Be it known that we, Willard C, Ellis and John N. White,…
Read More
France 41596 (23584) BREVET D’INVENTION (Patente anglaise expirant le 17 décembre 1872), En date du 12 juillet 1859, Au sieur KERR, à Londres, Pour des perfectionnements apportés aux armes à feu dites révolvers. Pl. XXXVI. Cette invention consiste dans certains perfectionnements apportés aux révolvers et permettant d’appliquer la platine, le…
Read More
France 41694 (24018) BREVET D’INVENTION DE QUINZE ANS, En date du 20 juillet 1859, Au sieur LE MAT, à la Nouvelle-Orléans, Pour des perfectionnements aux révolvers. Pl. IX. Le problème à résoudre dans la combinaison des révolvers consiste à leur faire tirer le plus grand nombre de coups possible, à…
Read More
Belgium 7726 Import: Britain 2896 (1858) Au sieur Kerr (J.), représenté par le sieur Piddington (J.), à Bruxelles, un brevet d’importation, à prendre date le 6 juillet 1859 ,pour des perfectionnements apportés aux armes à feu, dites revolvers, brevetés en sa faveur en Angleterre, pour 14 ans, le 17 décembre…
Read More
US 7887-RE783 UNITED STATES PATENT OFFICE. JAMES M. COOPER, OF NEW YORK, N. Y., ASSIGNEE OF STANHOPE W. MARSTON. IMPROVEMENT IN TRIGGER-OPERATING REVOLVING-BREECH FIRE-ARMS, Specification forming part of Letters Patent No. 7,887, dated January 7, 1851; Reissue No. 783, dated July 26, 1859. To all whom it may concern: Be…
Read More
British 1764 LETTERS PATENT to Alfred Vincent Newton, of the Office for Patents, 66, Chancery Lane, in the County of Middlesex, Mechanical Draughtsman, for the Invention of “ Certain Improvements nr that Class op Fire-arms known as Revolvers, and in Bullets por the same.”—A communication from abroad by John Walch,…
Read More
Britain 1769 A.D. 1859, 30th July. N° 1769. Breech-loading Cannon. (This Invention received Provisional Protection only.) PROVISIONAL SPECIFICATION left by the said Thomas Firth at the Office of the Commissioners of Patents, with his Petition, on the 30th July 1859. I, THOMAS FIRTH, of Sheffield, in the County of York,…
Read More
US 24942 UNITED STATES PATENT OFFICE. S. C. LEWIS AND F. P. PFLEGHAR, OF WHITNEYVILLE, CONNECTICUT. IMPROVEMENT IN REVOLVING FIRE-ARMS. Specification forming part of Letters Patent No. 24,942, dated August 2, 1859. To all whom it may concern: Be it known that we, S. C. Lewis and F. P. Pfleghar,…
Read More
British 1918 LETTERS PATENT to Henry Spratt, of the Royal Marine Barracks, Plymouth, in the County of Devon, Captain, Royal Marines, for the Invention of “ Improvements in Revolving Pistols and otheb Fire-abms.” Sealed the 21st February 1860, in pursuance of an Order of the Lord Chancellor, and dated the…
Read More
US 11419-RE806 UNITED STATES PATENT OFFICE. JOSAH ELLS, OF PITTSBURG, PENNSYLVANIA, ASSIGNOR TO WIM. S. LAVELEY AND JAMES M. COOPER. IMPROVEMENT IN REVOLVING FIRE-ARMS. Specification forming part of Letters Patent No. 11,419, dated August 1, 1854; Reissue No. 806, dated September 6, 1859. To all whom it may concern: Be…
Read More
British 2263 LETTERS PATENT to William Edward Newton, of the Office for Patents, 66, Chancery Lane, in the County of Middlesex, Civil Engineer, for the Invention of “ Improvements in Revolving Fire-arms.”—A communication from abroad by Messrs. Perrin and Delmas, of Paris, in the Empire of France. Sealed the 11th…
Read More
Belgium 8182 Brevet de perfectionnement Le ministre de l’intérieur, Vu la loi du 24 mai 1854; Vu le procès-verbal dressé le vingt neuf Octobre 1859 à midi précis au Greffe du Gouvernement provincial de Liège et constatant le dépôt régulier fait par le Sieur H. Comblain, à Wandre d’une demande…
Read More
US 13999-RE846 UNITED STATES PATENT OFFICE. E. K. ROOT, OF HARTFORD, CONNECTICUT, IMPROVEMENT IN REVOLVING FIRE-ARMS. Specification forming part of Letters Patent No. 13,999 dated December 25, 1855; Reissue No. 846, dated November 1, 1859, To all whom it may concern: Be it known that I, E. K. Rout, of…
Read More
US 26641 UNITED STATES PATENT OFFICE. JOS. GRULER AND AUGUSTUS REBETEY, OF NORWICH, CONNECTICUT, ASSIGNORS TO THE MANEATTAN FIRE-ARMS MANUEACTURING COMPANY, OF NEW YORK, N.Y. IMPROVEMENT IN REVOLVING FIRE-ARMS. Specification forming part of Letters Patent No. 26,641, dated December 27, 1859. To all whom it may concern: Be it known…
Read More






















































































































































































